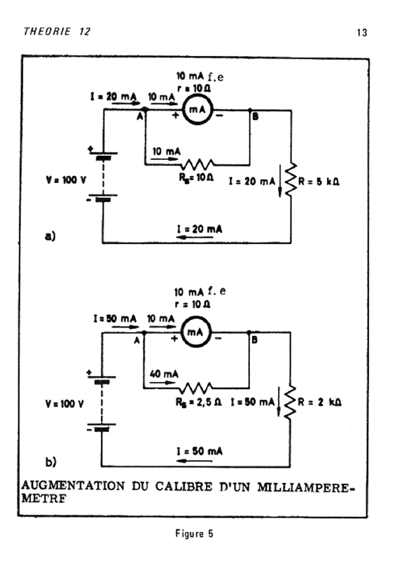
1979/THEORIE-12
Click image pour agrandir
Page 1 of 2
<
1
2
>