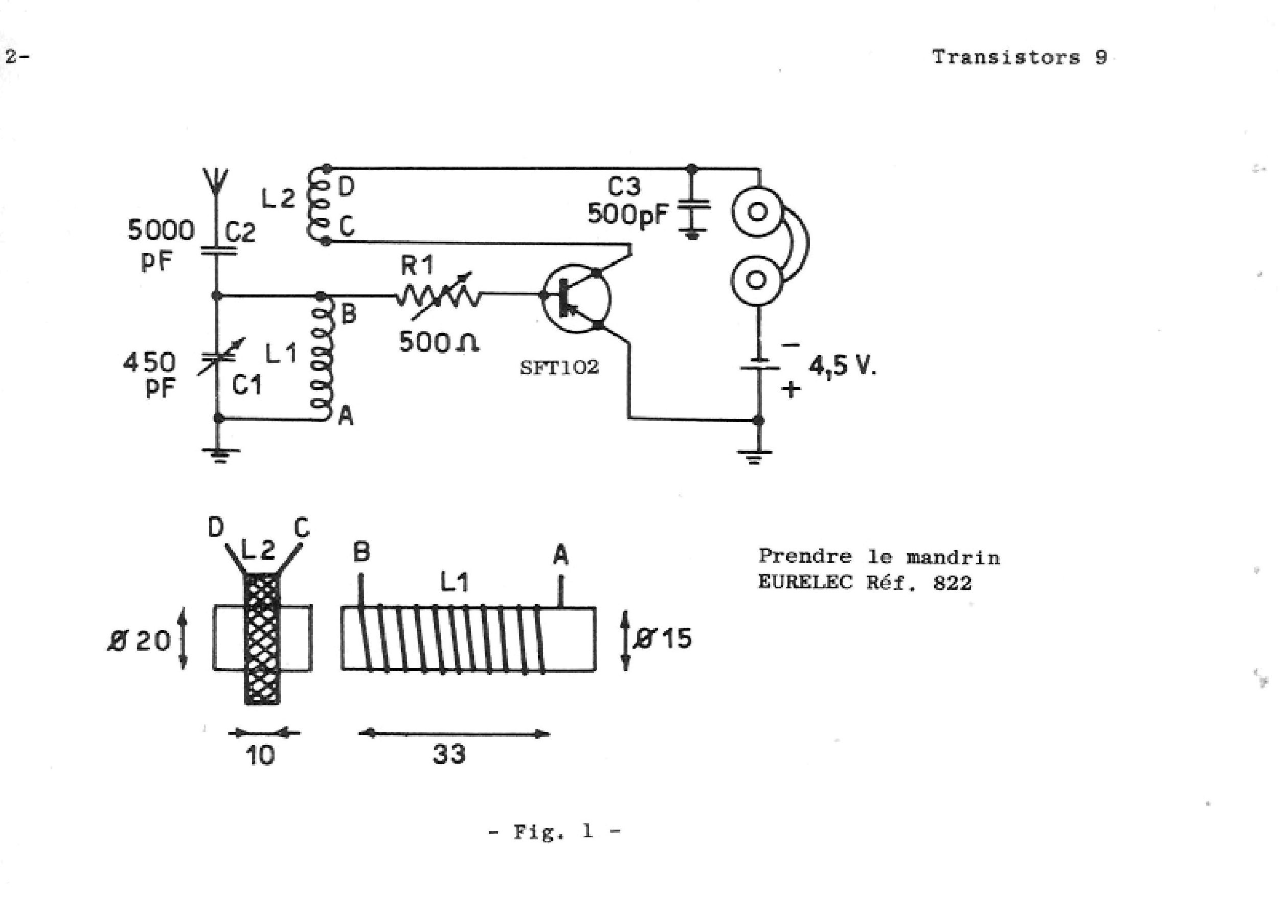
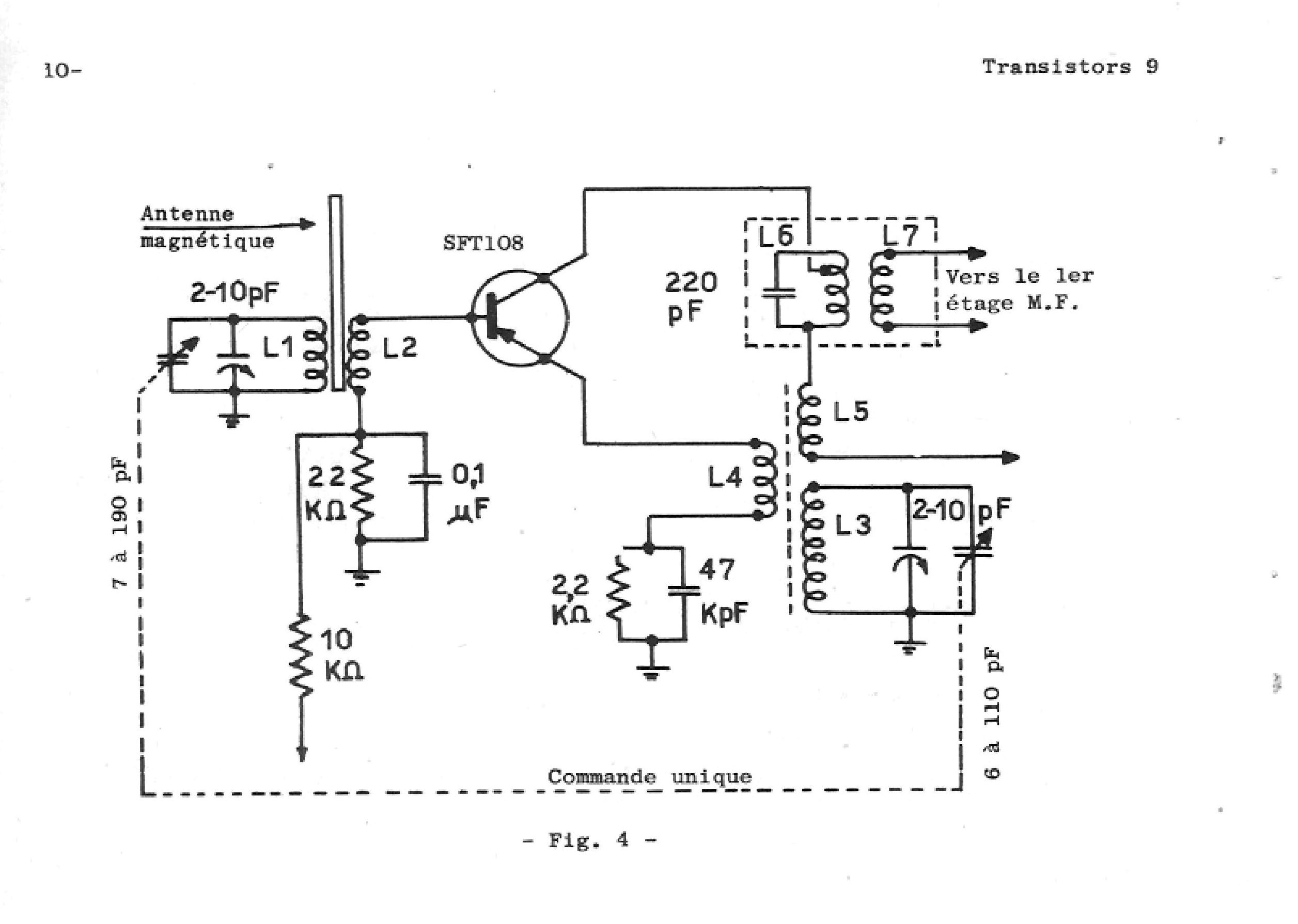
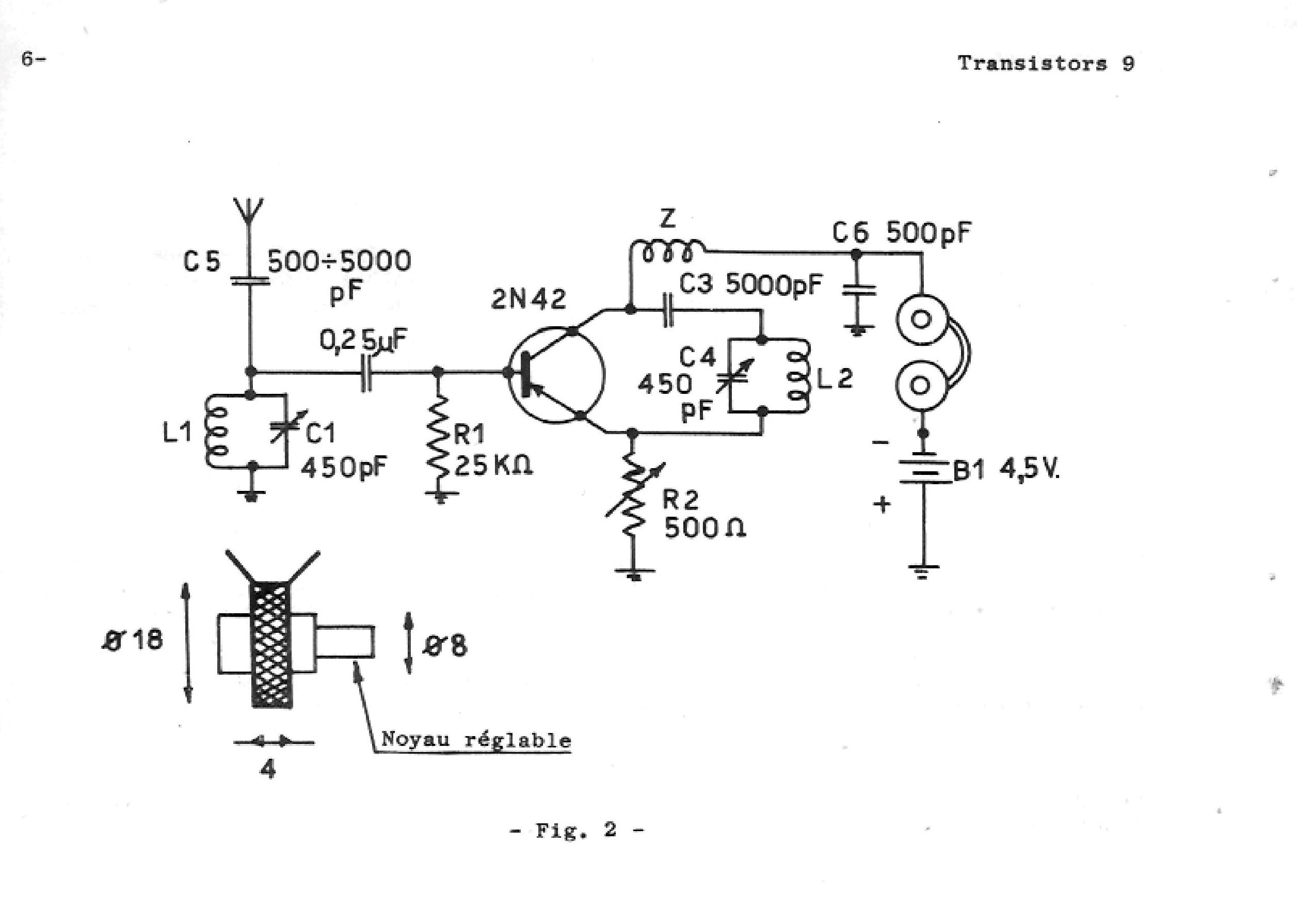
1961/TRANSISTORS-07-RECEPTEURS-A-TRANSISTORS
Click image pour agrandir
Page 1 of 2
<
1
2
>